Wheels, Central Locking, Tyre Pressure Control System

601-000

WHEELS, CENTER CAPS & LUG BOLTS, -2008

601-001

WHEELS, CENTER LOCKING, 2010-

601-005

TIRE PRESSURE MONITORING SYSTEM, -2008

601-006

TIRE PRESSURE MONITORING SYSTEM, 2010-

Disc Brake

602-000

FRONT BRAKES

Disc Brake, Handbrake

603-000

REAR BRAKES

603-005

PARKING BRAKE SHOES & HARDWARE

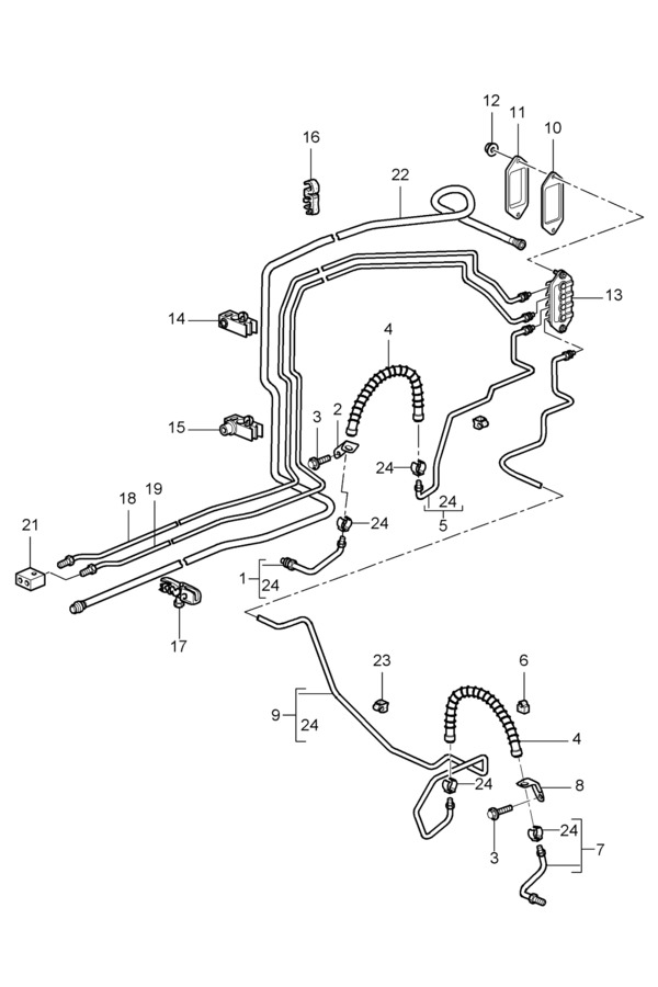
Brake Master Cylinder, Brake Lines, Brake Line

604-000

BRAKE MASTER CYLINDER, RESERVOIR & BOOSTER

604-005

FRONT BRAKE LINES

604-010

BRAKE LINES, UNDERBODY & FRONT AXLE

604-015

BRAKE LINES, UNDERBODY & REAR AXLE

Hydraulic Unit

605-000

ABS HYDRAULIC UNIT & SENSOR