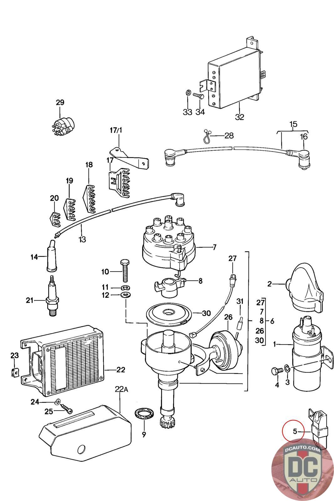
046905109
SERIES RESISTOR GREEN, OHM 0.4 B1 *
046 905 109
SELECT
PART NO
046905109
DESCRIPTION
New
CONDITION
NEW - OEM
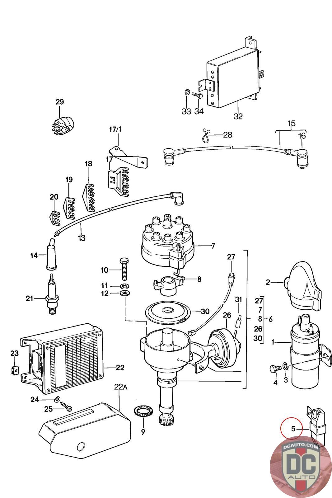
046905109
New
NEW - OEM
SELECT
SERIAL #
50446
DESCRIPTION
.
CONDITION
USED - X
MILEAGE
-
50446
.
USED - X
-