93112303403
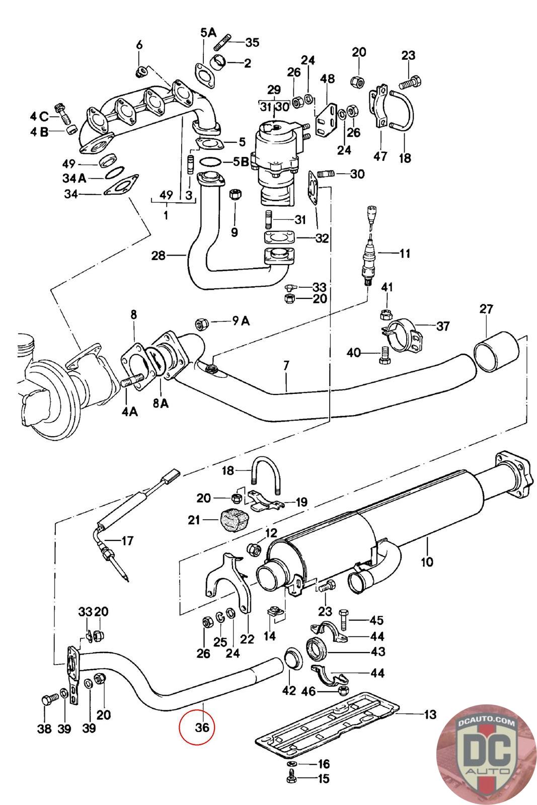
WASTEGATE LINE
931 123 034 03
SELECT
SERIAL #
43377
DESCRIPTION
-
CONDITION
USED - X
MILEAGE
-
PRICE
$130.00
QTY
Available: 999
43377
-
USED - X
-
$
130.00
Available: 999