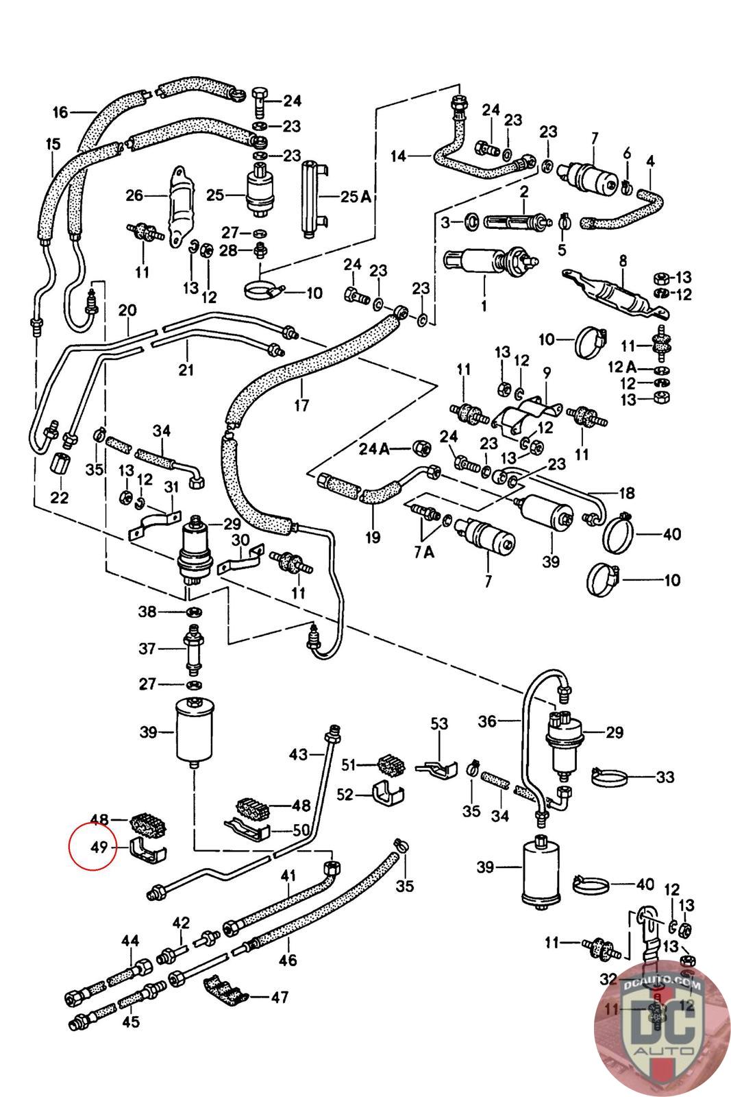
92835652300
SUPPORTING BOW, .
928 356 523 00 [80-]
SELECT
PART NO
92835652300
DESCRIPTION
Note this is a special order item, delivery estimate 1-2 weeks.
CONDITION
NEW - GENUINE PORSCHE
MANUFACTURER
-
PRICE
$2.97
QTY
Available: 999
92835652300
Note this is a special order item, delivery estimate 1-2 weeks.
NEW - GENUINE PORSCHE
-
$
2.97
Available: 999