92842321100
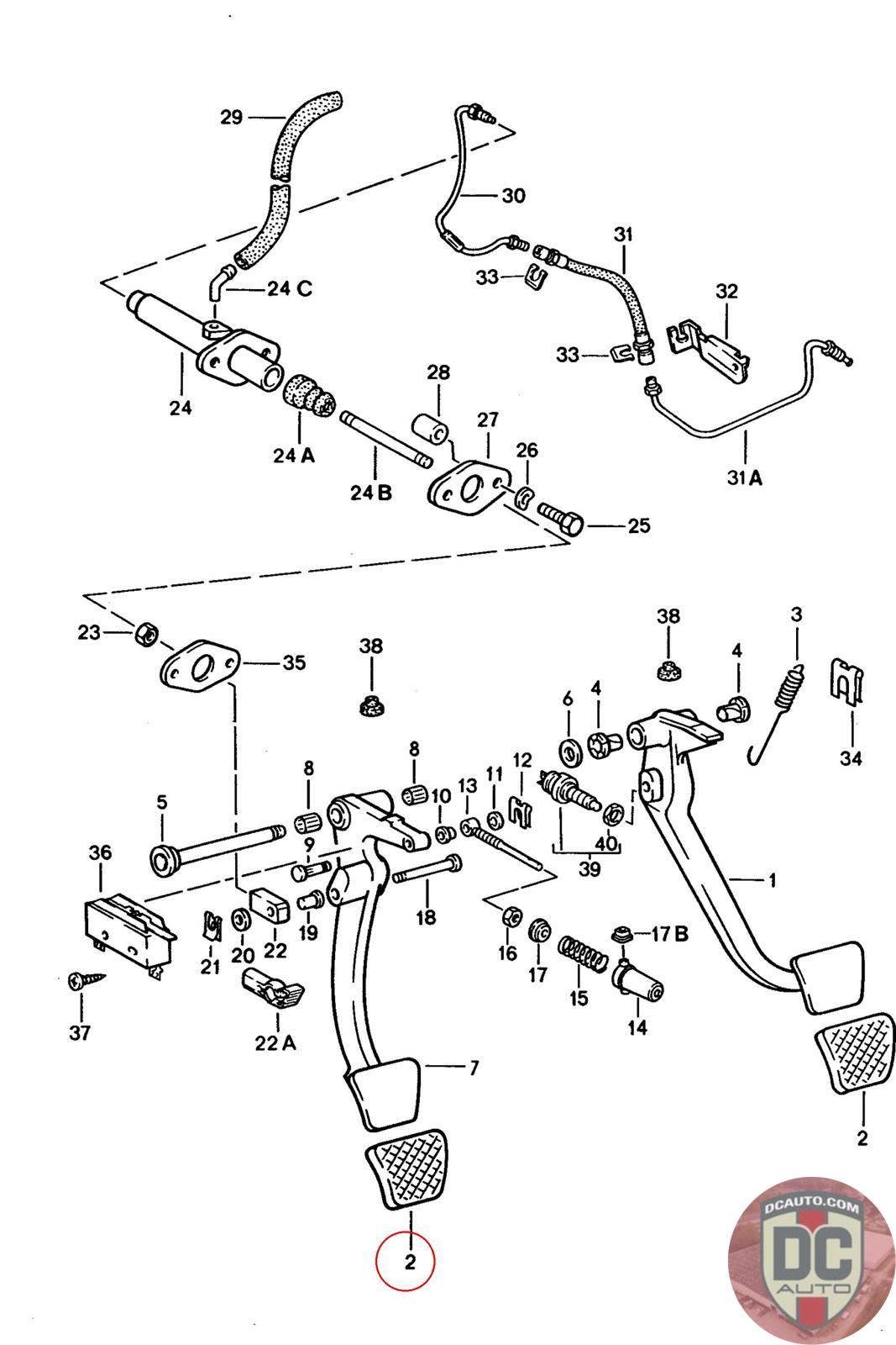
PEDAL PAD
928 423 211 00 [AT]
SELECT
PART NO
92842321100
DESCRIPTION
Note this is a special order item, delivery estimate 1-2 weeks.
CONDITION
NEW - GENUINE PORSCHE
MANUFACTURER
-
PRICE
$18.97
QTY
Available: 999
92842321100
Note this is a special order item, delivery estimate 1-2 weeks.
NEW - GENUINE PORSCHE
-
$
18.97
Available: 999