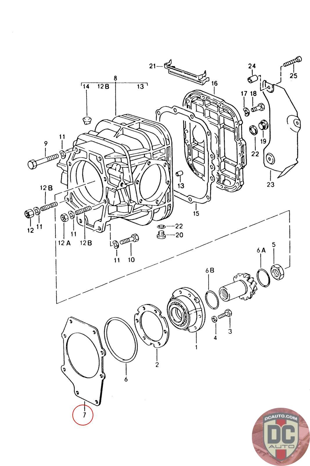
96030229706
ADJUSTING SHIM 0.20
960 302 297 06
SELECT
PART NO
96030229706
DESCRIPTION
Note this is a special order item, delivery estimate 1-2 weeks.
CONDITION
NEW - GENUINE PORSCHE
MANUFACTURER
-
PRICE
$53.97
QTY
Available: 999
96030229706
Note this is a special order item, delivery estimate 1-2 weeks.
NEW - GENUINE PORSCHE
-
$
53.97
Available: 999