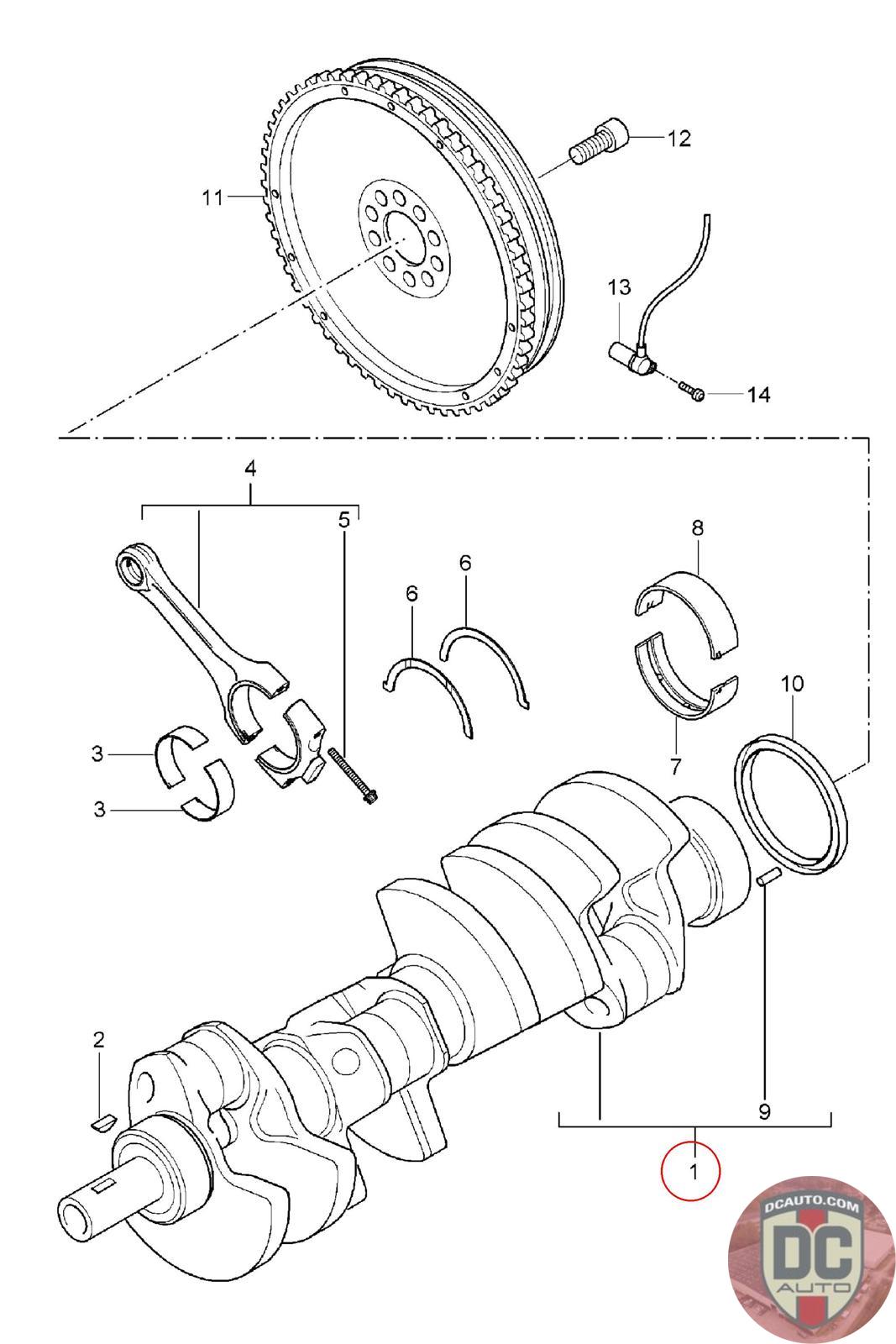
94810201103
CRANKSHAFT 94810201104 94810201105, STD/STD, INSPECTED, CLEANED AND POLISHED, NOTE ADDITIONAL SHIPPING DUE TO WEIGHT, SHIPPING TIME MAY BE DELAYED TO HAVE ONE INSPECTED AND POLISHED
948 102 011 03
SELECT
SERIAL #
65496
DESCRIPTION
-
CONDITION
USED - X
MILEAGE
-
PRICE
$1000.00
QTY
Available: 999
65496
-
USED - X
-
$
1000.00
Available: 999