95534703250
TIE ROD ASSEMBLY,
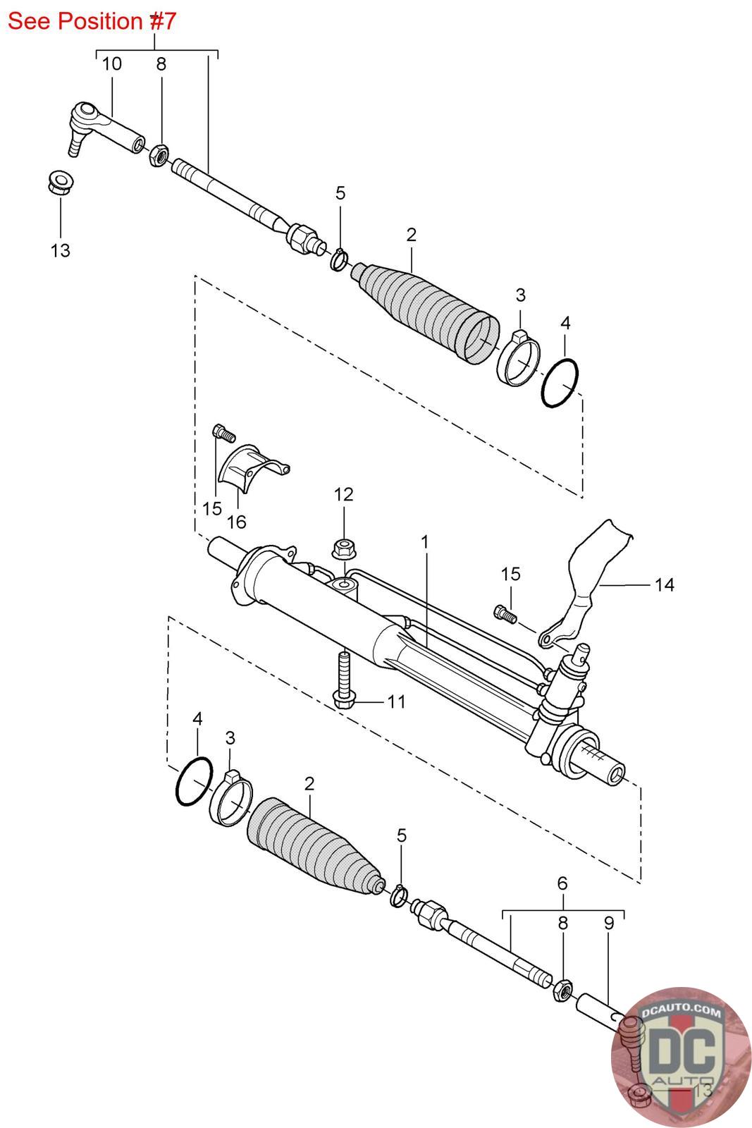
955 347 032 50 [/R 05-] [IE81]
SELECT
SERIAL #
66886
DESCRIPTION
-
CONDITION
USED - X
MILEAGE
-
66886
-
USED - X
-