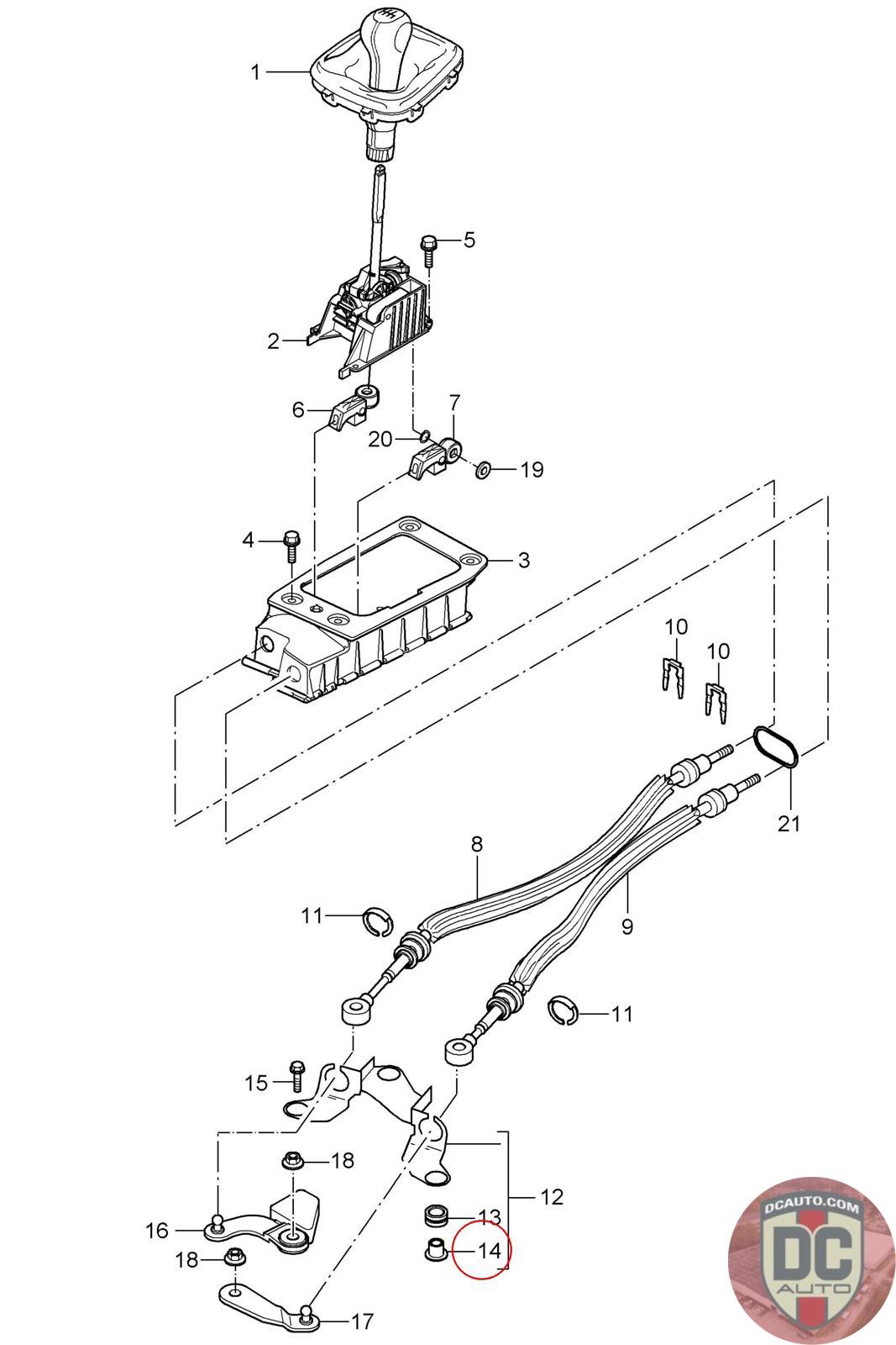
95542471000
BUSH FOR SUPPORT, SUPERSEDED TO 95542471001, .
955 424 710 00
SELECT
PART NO
95542471000
DESCRIPTION
Note this is a special order item, delivery estimate 1-2 weeks.
CONDITION
NEW - GENUINE PORSCHE
MANUFACTURER
-
PRICE
$6.97
QTY
Available: 999
95542471000
Note this is a special order item, delivery estimate 1-2 weeks.
NEW - GENUINE PORSCHE
-
$
6.97
Available: 999