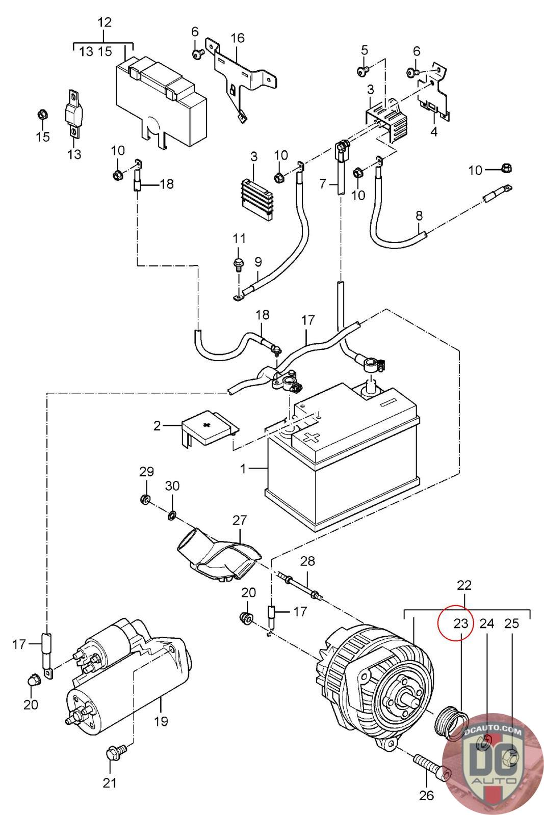
98060351100
PULLEY
980 603 511 00
SELECT
SERIAL #
69738
DESCRIPTION
-
CONDITION
USED - X
MILEAGE
-
69738
-
USED - X
-