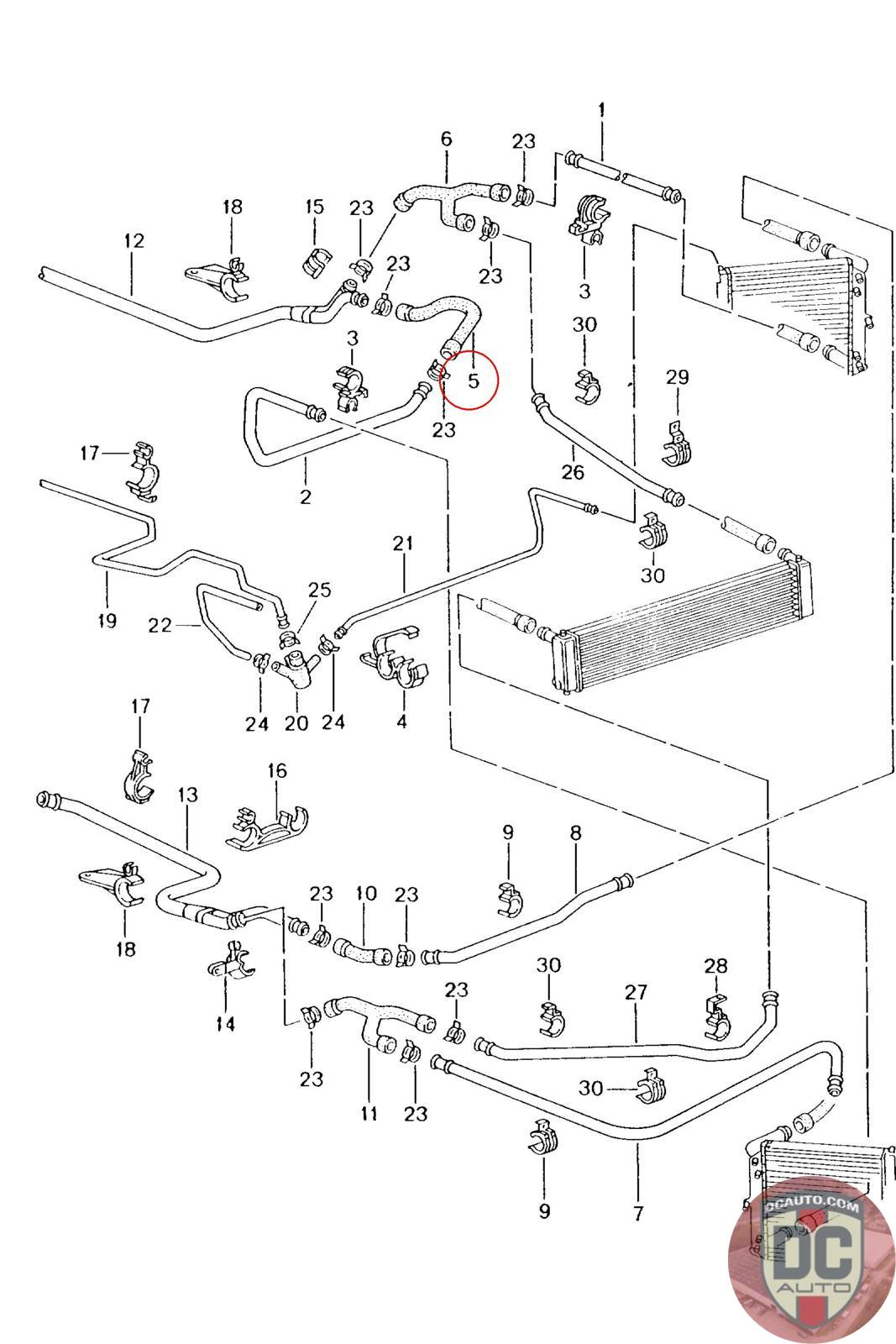
99610672302
HOSE, SUPPLY, SUPERSEDED TO 99610672304, 99610672305
996 106 723 02 [Right]
SELECT
PART NO
99610672302
DESCRIPTION
Note this is a special order item, delivery estimate 1-2 weeks.
CONDITION
NEW - GENUINE PORSCHE
MANUFACTURER
-
PRICE
$35.97
QTY
Available: 999
99610672302
Note this is a special order item, delivery estimate 1-2 weeks.
NEW - GENUINE PORSCHE
-
$
35.97
Available: 999