99610673071
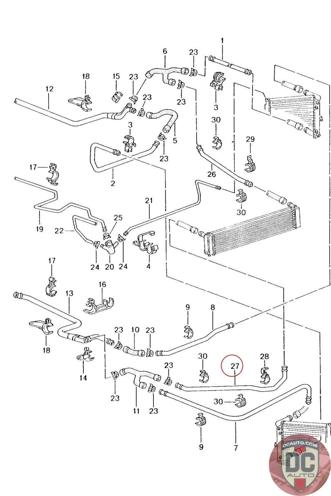
ENGINE COOLANT PIPE (FRONT)
996 106 730 71 [Right]
SELECT
SERIAL #
42707
DESCRIPTION
-
CONDITION
USED - X
MILEAGE
-
42707
-
USED - X
-