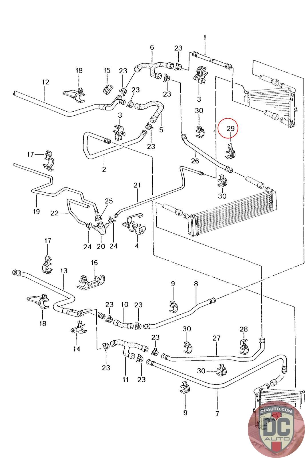
99610657371
SUPPORT
996 106 573 71 [Left]
SELECT
PART NO
99610657371
DESCRIPTION
Note this is a special order item, delivery estimate 1-2 weeks.
CONDITION
NEW - GENUINE PORSCHE
MANUFACTURER
-
99610657371
Note this is a special order item, delivery estimate 1-2 weeks.
NEW - GENUINE PORSCHE
-