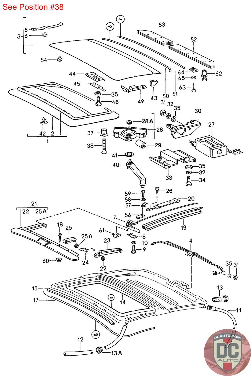
90026901202
SCREW M4 X 25, .
900 269 012 02
SELECT
PART NO
90026901202
DESCRIPTION
Note this is a special order item, delivery estimate 1-2 weeks.
CONDITION
NEW - GENUINE PORSCHE
MANUFACTURER
-
PRICE
$6.97
OUT OF STOCK
90026901202
Note this is a special order item, delivery estimate 1-2 weeks.
NEW - GENUINE PORSCHE
-
$
6.97
Available: 0