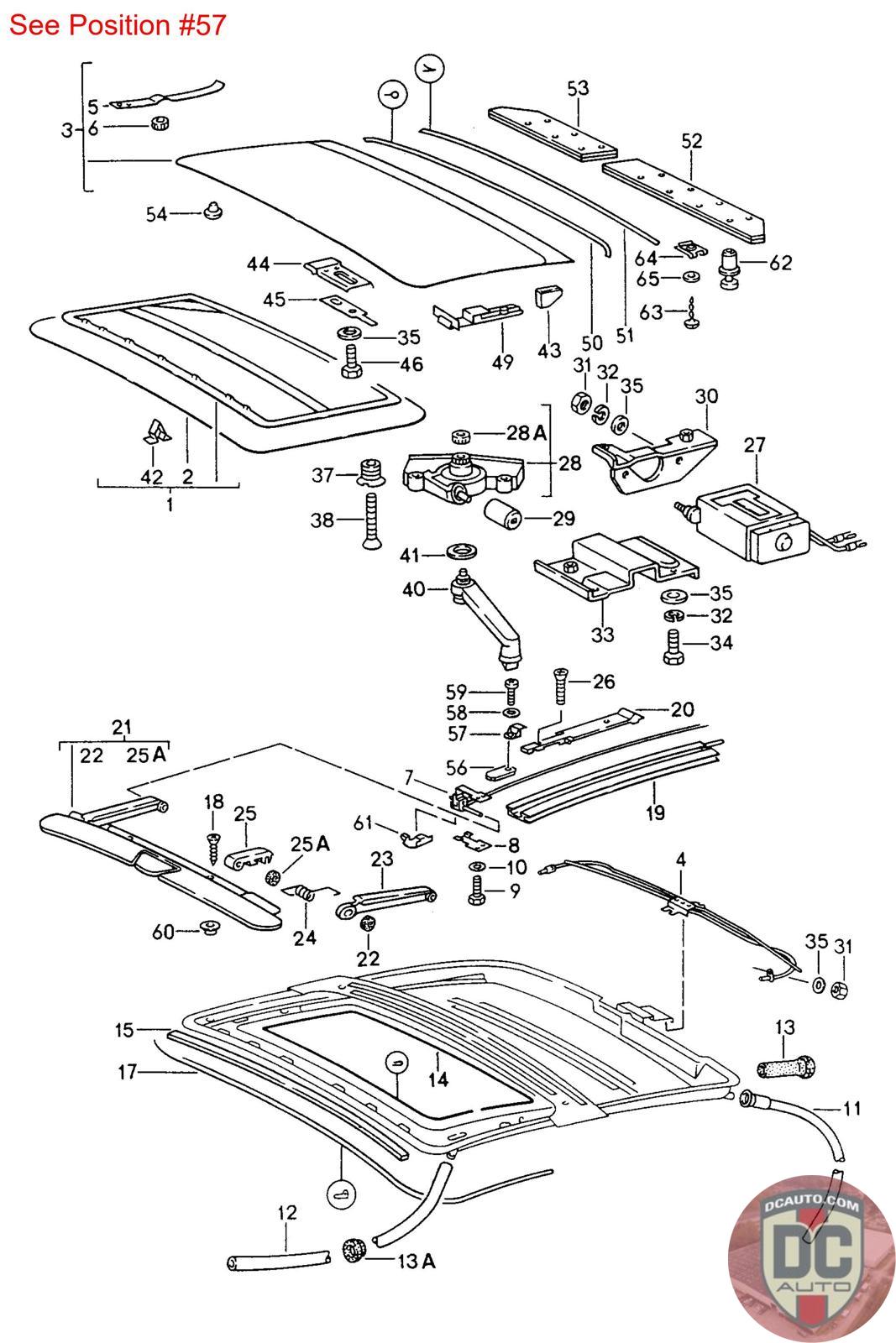
91156416500
TERMINAL PIECE F 91HS1 20626>> F 93HS0 55069>> CDN F 93HS0 50274>> USA
911 564 165 00 [CDN USA]
SELECT
SERIAL #
59412
DESCRIPTION
-
CONDITION
USED - X
MILEAGE
-
PRICE
$11.12
$14.82
QTY
Available: 999
59412
-
USED - X
-
$
11.12
On Sale! $14.82
Available: 999