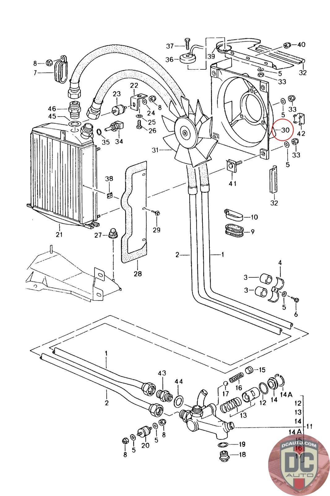
96462404100
AIR GUIDE COWL
964 624 041 00
SELECT
SERIAL #
43647
DESCRIPTION
picked by thomas
CONDITION
USED - X
MILEAGE
-
PRICE
$48.75
$65.00
QTY
Available: 986
43647
picked by thomas
USED - X
-
$
48.75
On Sale! $65.00
Available: 986