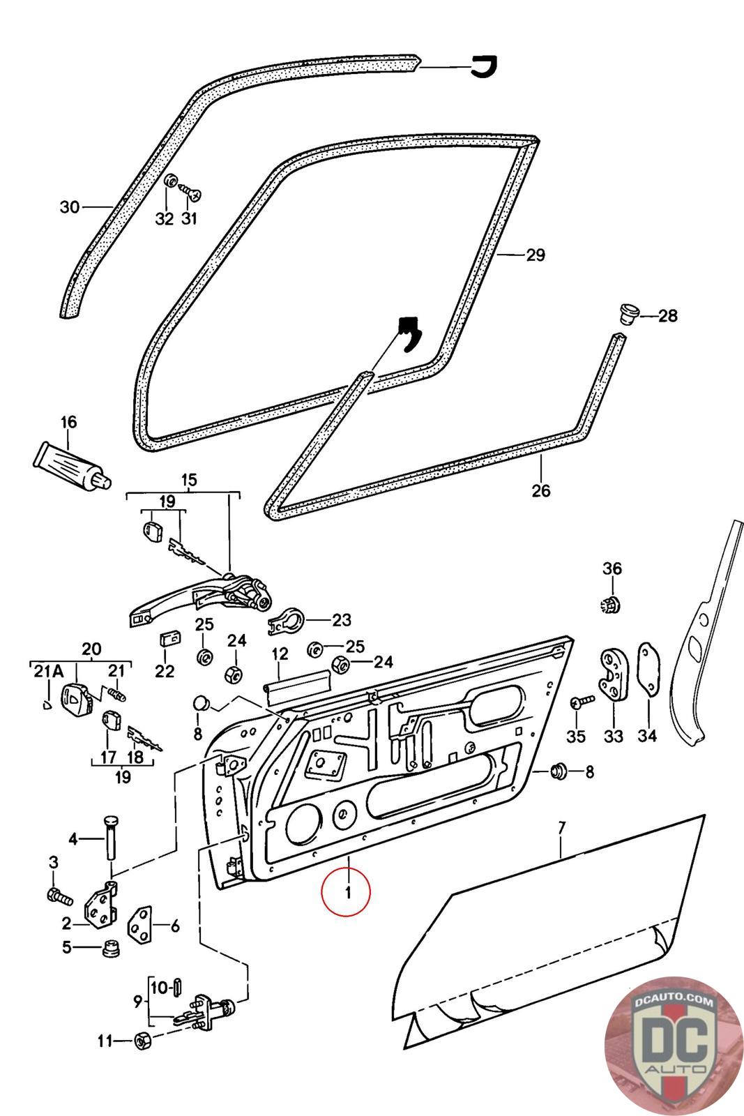
91153100609
DOOR, SUPERSEDED TO 91153100623GRV, 91153100600, 91153100602, 91153100604, 91153100606, 91153100623
911 531 006 09 [Right]
SELECT
SERIAL #
81407
DESCRIPTION
Structurally sound. May have minor cosmetic issues (scratches, some surface rust, etc).
CONDITION
USED - X
MILEAGE
-
PRICE
$900.00
$1200.00
QTY
Available: 1
81407
Structurally sound. May have minor cosmetic issues (scratches, some surface rust, etc).
USED - X
-
$
900.00
On Sale! $1200.00
Available: 1
SELECT
SERIAL #
81404
DESCRIPTION
Structurally sound. May have minor cosmetic issues (scratches, some surface rust, etc).
CONDITION
USED - X
MILEAGE
-
PRICE
$900.00
$1200.00
QTY
Available: 1
81404
Structurally sound. May have minor cosmetic issues (scratches, some surface rust, etc).
USED - X
-
$
900.00
On Sale! $1200.00
Available: 1