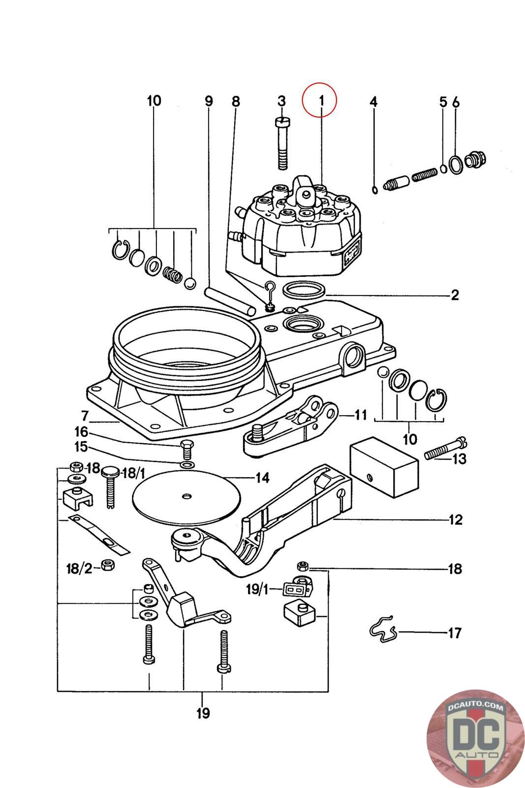
91111093502
FUEL DISTRIBUTOR, SUPERSEDED TO 911110935BX, BOSCH NUMBERS: 0438100004, 0438100006 438100017
911 110 935 02 [911/91/92/93/96/97/98]
SELECT
SERIAL #
58270
DESCRIPTION
-
CONDITION
USED - X
MILEAGE
-
PRICE
$250.00
QTY
Available: 993
58270
-
USED - X
-
$
250.00
Available: 993