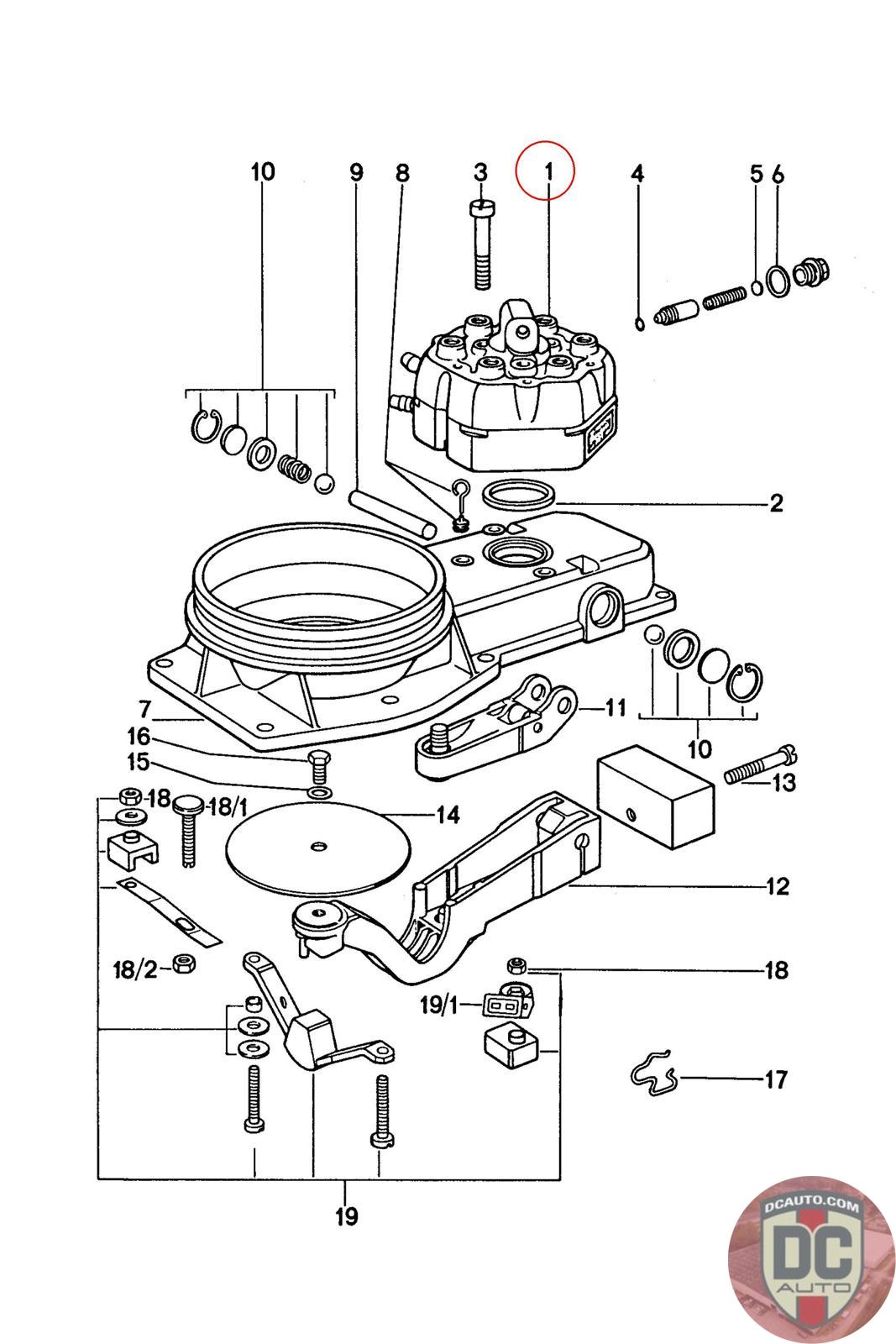
911110935BX
FUEL DISTRIBUTOR, BOSCH NUMBERS: 0438100004, 0438100006
911 110 935 BX [911/91/92/93/96/97/98]
SELECT
SERIAL #
58272
DESCRIPTION
-
CONDITION
USED - X
MILEAGE
-
58272
-
USED - X
-