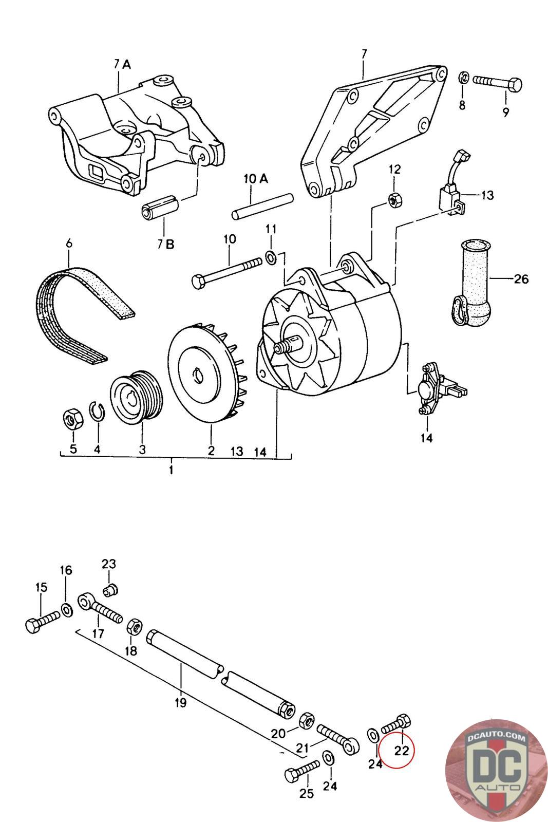
N0104452
HEX BOLT M10X45MM, SUPERSEDED TO 90007437201
N 010 445 2 [Cabrio]
SELECT
PART NO
N0104452
DESCRIPTION
Note this is a special order item, delivery estimate 1-2 weeks.
CONDITION
NEW - GENUINE PORSCHE
MANUFACTURER
-
PRICE
$3.97
OUT OF STOCK
N0104452
Note this is a special order item, delivery estimate 1-2 weeks.
NEW - GENUINE PORSCHE
-
$
3.97
Available: 0