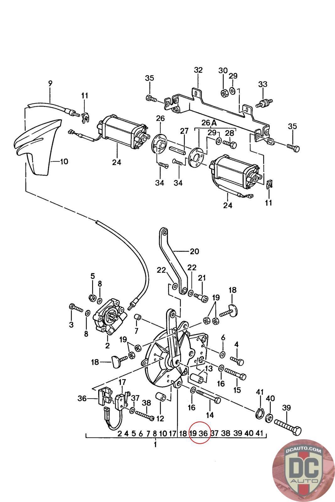
91161341300
SUPPORT, .
911 613 413 00
SELECT
PART NO
91161341300
DESCRIPTION
Note this is a special order item, delivery estimate 1-2 weeks.
CONDITION
NEW - GENUINE PORSCHE
MANUFACTURER
-
PRICE
$10.97
QTY
Available: 999
91161341300
Note this is a special order item, delivery estimate 1-2 weeks.
NEW - GENUINE PORSCHE
-
$
10.97
Available: 999