90110403502
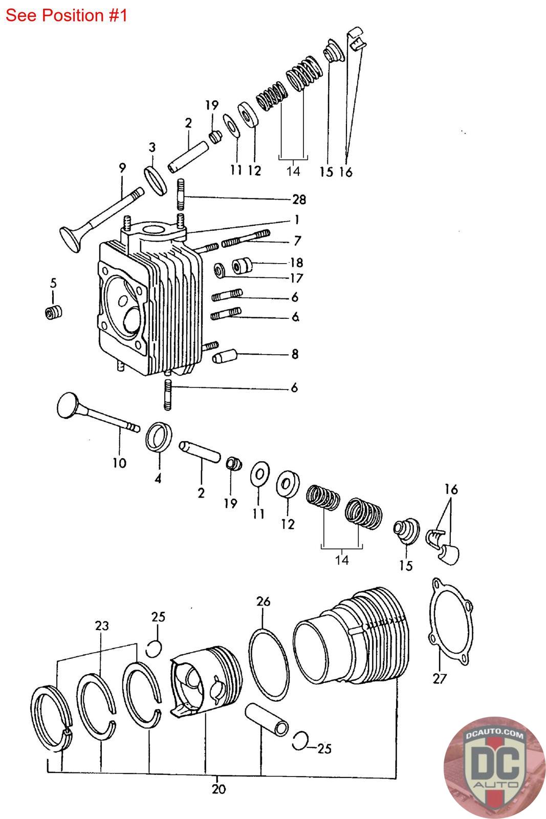
CYLINDER HEAD
901 104 035 02 [-1968] [911S]
SELECT
SERIAL #
84178
DESCRIPTION
Good used. Date code: 10-66. Missing two studs.
CONDITION
USED - A
MILEAGE
-
PRICE
$375.00
$500.00
QTY
Available: 1
84178
Good used. Date code: 10-66. Missing two studs.
USED - A
-
$
375.00
On Sale! $500.00
Available: 1